凝汽器膠球清洗裝置系統中收球網旋轉裝置的應用分析
凝汽器膠球清洗裝置系統中收球網旋轉裝置的應用分析,應用在電站凝汽器冷卻水管的連續膠球清洗設施中。
汽輪機凝汽器冷卻管水側臟污,會使凝汽傳熱惡化、熱耗增加、機組出力降低,膠球連續清洗技術就是解決凝汽器冷卻水管臟污問題,而冷卻管連續清洗技術的關鍵設備是其凝汽器膠球清洗裝置收球網旋轉裝置,該技術已得到較大發展、目前屬于較好的有兩種,活動式柵格網板的凝汽器膠球清洗裝置收球網旋轉裝置和三代收球網的凝汽器膠球清洗裝置收球網旋轉裝置,其凝汽器膠球清洗裝置收球網旋轉裝置中收球網的旋轉裝置存在以下問題,直接影響了收球率,從而影響清洗效果:
(1)整體柵格網板中間有一個轉軸支撐,在水流作用下易產生變形,在變形間隙中易漏球。
(2)由于一片柵格網板固定在一個轉軸上,轉軸既起固定作用,又起動力傳動作用,因此,在任意位置時轉軸本身不能自鎖,難于保證柵格網板準確旋轉到位而導致間隙漏球的目的在于克服上述不足而提供一種結構簡單,科學合理的柵格網板旋轉裝置,使用該裝置可提高收球率,使電站凝汽器冷卻管的連續清洗獲得較好的清洗效果。
凝汽器膠球清洗裝置收球網的旋轉裝置,網板上設有轉軸,其柵格網板的下面有支撐臂,支撐臂通過傳動裝置與收球筒體外的操縱裝置相連。
旋轉裝置,其柵格網板設計為一整體網板,其棚格網板的轉軸位于柵格網板的中間部位上,柵格網板的下面有支撐臂,支撐臂通過傳動裝置與收球簡體外的操縱裝置相連.其傳動裝置為螺桿傳動裝置,支撐臂與位于橫螺桿上的移動塊鉸鏈,移動塊與一同螺桿平行的定位、導向導桿相配合.
旋轉裝置,其柵格網板也可以由兩塊組成,每塊網板上各有一轉軸,兩塊網板對稱布置,柵格網板的下面各有一支撐臂,支撐臂通過傳動裝置與收球筒體外的操縱裝置相連。傳動裝置為螺桿、齒輪傳動裝置,支撐臂與位于縱螺桿上的移動塊鉸鏈,縱螺桿下端的傘齒輪與動力傳動軸上的傘齒輪相嚙合。
旋轉裝置,其操縱裝置為動力操縱裝置,可以為電動力,也可以為人工動力等,操縱裝置中可加設棘輪、棘爪,加強鎖定性能.為了控制方便,可在收球筒體外設一指示裝置,以便通過指示確定柵格網板的位置。在整個凝汽器膠球清洗裝置收球網旋轉裝置中,收球簡體的上下端可通過法蘭與其余的循環水管連接,柵格網板的上端為迎水端,下端接膠球引出口。
下面結合附圖及實施例對作進一步的說明。
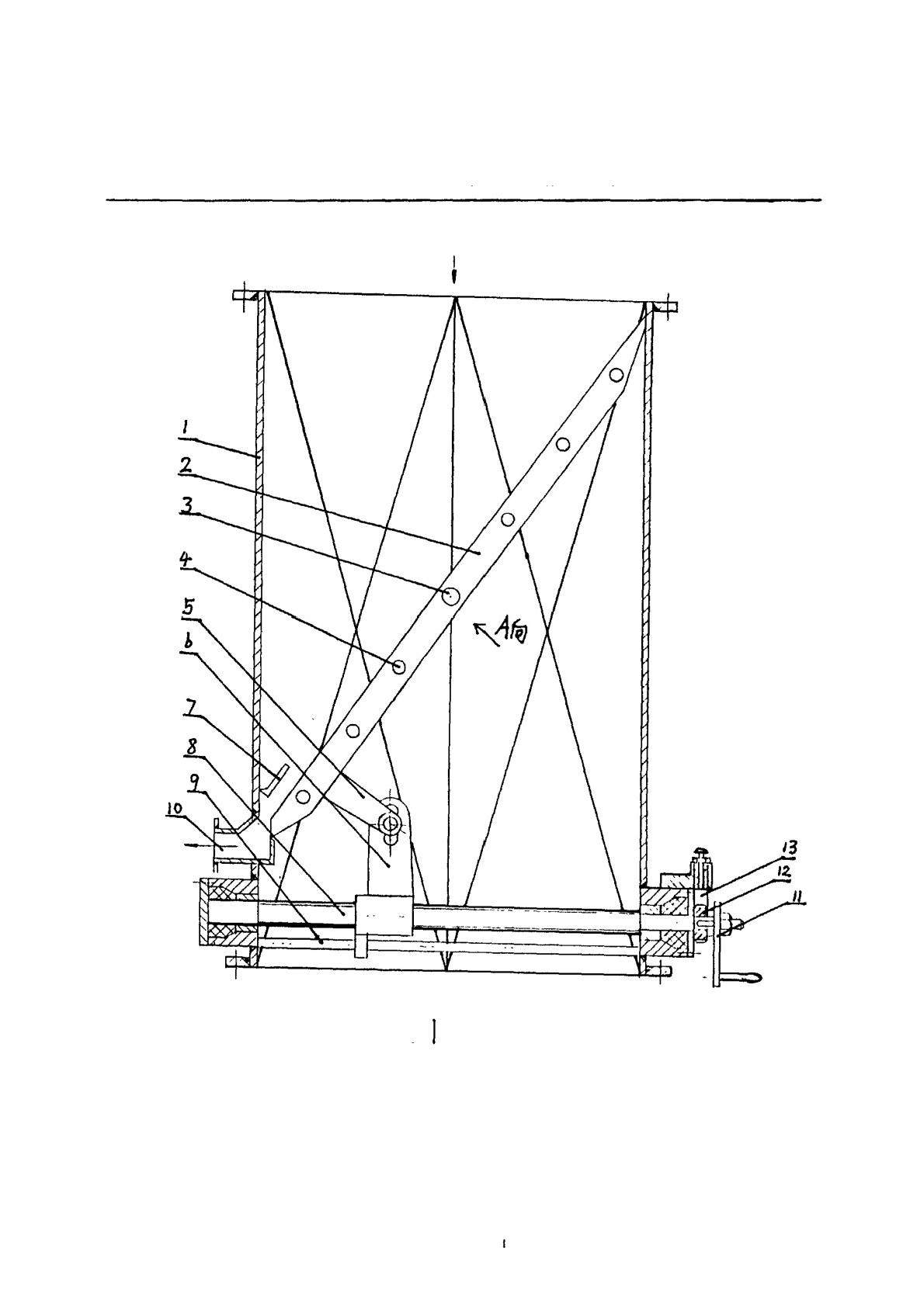
圖1的一截面結構示意圖,亦為一實施例。
圖2圖1的A向示圖.
圖3的另一結構的截面示意圖,亦為另一實施例.
圖4圖3的B向示圖。
圖中:1、1收球簡體、2、2柵格網板、3、3轉軸、4、4固定條、5、5支撐臂、6、6移動塊、7、7導流板、8橫螺桿、9導桿、10、10膠球引出口、11、11操縱裝置、12、12棘輪、13、13棘爪、14、14”指示盤.15.15指針、16傳動桿、17縱螺桿、18從動齒輪、19主動齒輪.
如圖1、2所示,凝汽器膠球清洗裝置收球網旋轉裝置,包括收球簡體1、柵格網板2、轉軸3、膠球引出口10、導流板7、傳動裝置和操縱裝置11,其收球簡體1為四棱,柵格網板2整體為菱形。所述收球網的旋轉裝置中,網板2上設有轉軸3,其柵格網板2的下面有支撐臂5,支撐臂5通過傳動裝置與收球筒體1外的操縱裝置11相連,其傳動裝置為螺桿傳動裝置,支撐臂5與位于橫螺桿8上的移動塊6鉸鏈,移動塊6與一同螺桿8平行的定位、導向導桿9相配合.
如圖3、4所示,凝汽器膠球清洗裝置收球網旋轉裝置,包括收球簡體1,柵格網板2、轉軸3、膠球引出口10、導流板7、傳動裝置和操縱裝置11,其收球簡體1為四棱狀。本實用新型所述收球網的旋轉裝置中,每塊網板上各有一轉軸3,兩塊網板2對稱布置,柵格網板2的下面各有一支撐臂5,支撐臂5通過傳動裝置與收球簡體1外的操縱裝置11相連。傳動裝置為螺桿、齒輪傳動裝置,支撐臂S與位于縱螺桿17上的移動塊6鉸鏈,縱螺桿17下端的傘齒輪19°與動力傳動桿16上的傘齒輪18相嚙合。
本凝汽器膠球清洗裝置收球網旋轉裝置中,操縱裝置為人工動力,其中設有棘輪12、12和棘爪13、13.適用于各種形狀的收球簡體,包括圓簡狀、棱柱筒狀等.通過操作操縱裝置,可使柵格網板轉到適當位置,從而完成其功能。當柵格網板將收球簡體的截面封住時(此時,菱形柵格網板呈傾斜面狀,而兩個三角形的柵格網板對稱形成A字形),則運行收球工況,膠球從引球口流出;當柵格網板轉到與水流平行時,便是柵格網板的自動清洗工況.
具有以下優點:
(1)柵格網板有轉軸和支撐臂支撐,提高了柵格網板的使用剛度,在水流作用下不易變形,避免了間隙變大造成的漏球現象.
(2)柵格網板的轉動控制和固定控制分別獨立,因此,柵格網板在任意位置時都能完成固定自鎖,保證柵格網板準確旋轉到位,并且配有棘輪、棘爪強鎖裝置,鎖定安全,穩定可靠,避免出現間隙而漏球。的實施改善了收球效果,提高了收球率,可使電站凝汽器冷卻管的連續清洗獲得較好的清洗效果,也可推廣應用于清洗其它表面式換熱器上。